You can not select more than 25 topics Topics must start with a letter or number, can include dashes ('-') and can be up to 35 characters long.
 
 
 
 
jetlinks-doc/iot-docs/best-practices/device-gateway-connection.md

5.3 KiB

通过网关设备接入多个下挂设备

场景: 网关设备与平台进行连接,传感器连接到网关设备. 平台可对网关以及网关下的所有设备进行管理.

协议解析

以下操作基于快速体验. 中使用的demo协议包 以及模拟器脚本.

流程:

  1. 父设备通过MQTT等方式接入平台,子设备自动上线.
  2. 平台下发子设备消息.网关使用协议的编解码器会收到ChildrenDeviceMessage,将其编码为网关设备能识别的消息即可.
  3. 父设备上报子设备数据,解码器将收到的设备报文解码为ChildDeviceMessage或者ChildDeviceMessageReply. 注意:ChildDeviceMessage.deviceId为 父设备ID,ChildDeviceMessage.message.deviceId为子设备ID.

::: tip 可根据设备消息协议解析SDK.修改协议解析方式. 子设备消息请重点关注: ChildDeviceMessage以及ChildDeviceMessageReply :::

创建设备型号

  1. 进入系统: 设备管理-设备型号-新建
  2. 输入设备型号信息,设备类型选择网关
  3. 点击确定进行保存。
    设备型号新增

导入设备型号:设备型号-演示型号.json

创建网关设备

  1. 进入系统: 设备管理-设备实例-新建
  2. 输入设备信息。
  3. 点击确定进行保存。
    设备新增

导入设备实例:设备实例.xlsx

创建子设备

创建步骤同创建设备型号创建网关设备,设备型号中设备类型选择设备

导入子设备型号:设备型号-子设备型号.json 导入子设备实例:设备实例-自设备.xlsx

关联网关设备和子设备

自动关联

在某些场景下,子设备是动态和网关绑定的,此时,需要在自定义协议作用解析消息为ChildDeviceMessage<DeviceRegsiterMessage>即可. 如果是自动关联的,设备状态也将更新为和网关设备状态一致.

手动关联

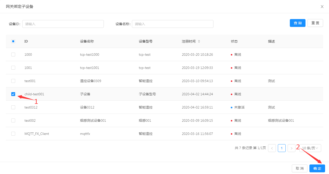
  1. 进入系统: 设备管理-网关设备
    进入网关设备

  2. 选择需要绑定子设备的网关设备,绑定子设备。

绑定子设备

绑定子设备

设备上线

网关与平台建立连接时,会自动修改所有子设备的状态. 如果要单独更新子设备上下线状态.请根据协议解析为ChildrenDeviceMessage<DeviceOnlineMessage>或者ChildrenDeviceMessage<DeviceOfflineMessage>.

模拟网关设备上线(下线),子设备上线(下线)

使用模拟器模拟网关设备。

  1. 进入项目目录:simulator(获取源代码)。

  2. 运行device-simulator.jar。

java -jar -Dfile.encoding=UTF-8 device-simulator.jar \
  mqtt.limit=1 \
  mqtt.start=0 \
  mqtt.enableEvent=true \
  mqtt.eventLimit=1 \
  mqtt.eventRate=1000 \
  mqtt.scriptFile=./scripts/demo-children-device.js \
  mqtt.address=127.0.0.1 \
  mqtt.port=1889

运行模拟器

3.运行成功后可在平台看到网关以及子设备都已上线。

device-online1

device-online2

4.断开连接网关下线,子设备下线。

device-offline1

device-offline2

模拟事件上报

在项目目录:simulator/scripts中的demo-children-device.js文件中模拟了子设备事件上报。

var events = {
    reportProperty: function (index, session) {
        var deviceId = "child-device-1";//子设备id
        var topic = "/children/report-property";//属性上报topic
        var json = JSON.stringify({
            "deviceId": deviceId,
            "success": true,
            "timestamp": new Date().getTime(),
            properties: {"temperature": java.util.concurrent.ThreadLocalRandom.current().nextDouble(20, 40)},
        });
        session.sendMessage(topic, json)
    },
    fireAlarm: function (index, session) {
        var deviceId = "child-device-1";
        var topic = "/children/fire_alarm";//事件上报topic
        var json = JSON.stringify({
            "deviceId": deviceId, // 设备编号 "pid": "TBS-110", // 设备编号
            "a_name": "商务大厦", // 区域名称 "bid": 2, // 建筑 ID
            "b_name": "C2 栋", // 建筑名称
            "l_name": "12-05-201", // 位置名称
            "timestamp": new Date().getTime() // 消息时间
        });

        session.sendMessage(topic, json)
    }
};

运行模拟器后会定时上报。

report1

属性上报日志:

log1

时间上报日志:

log2

消息下行

平台已经自动处理了下行的子设备消息.直接调用设备消息接口即可. 如果出现无法下行消息,或者状态不同步时,尝试重新激活一下设备.